产品描述
产品线:LGHMS系列
- 所有LGHMS系列主拉拔器套装均包含:LGH系列拉拔器、十字拉拔器、轴承分离器、轴承座圈拉拔器、可拆卸空心缸、软管、压力表及液压泵
- LGH系列拉拔器具备与机械式同等的安全性和易用性,通过标准10,150 psi液压缸施加拉拔力
- 可快速便捷地安装于多种应用场景
- 液压驱动提升拔力,减轻操作者疲劳
- 锁定式钳口确保稳固抓握,操作安全省力
- 同步钳口运动使单人即可完成全部拔卸作业
- 若轴端未预留中心钻孔,LGH系列拔卸器必须配合
- 尖端保护套使用。每套拔卸器均附带尖端保护套。
- 尖端保护套使用。每套拔卸器均附带尖端保护套。
- 我司液压缸及泵可承受10,150 psi工作压力,但配合十字轴承拔出器组件使用时,操作压力不得超过5,000 psi。
认为安全
制造商的额定载荷和行程是最大安全限制。 良好做法鼓励仅使用这些评级的 80%!
产品样图
产品系列
| 拉拔器套装型号 | 液压拉拔器承载能力(US ton) | 液压三爪拉拔器型号 | 最大容量配件(US ton) | 十字轴承拉拔器型号 | 轴承分离器型号 | 轴承座圈拔取器型号 | 重量(Kg) |
|---|---|---|---|---|---|---|---|
| LGHMS310H | 10 | LGH310 | 7 | BHP112 | BHP181 | BHP180 | 35 |
| LGHMS314H | 14 | LGH314 | 7 | BHP172 | BHP282 | BHP190 | 46 |
| LGHMS324H | 24 | LGH324 | 12 | BHP272 | BHP292 | BHP280 | 90 |
| LGHMS364H | 64 | LGH364 | 25 | BHP672 | BHP682 | BHP580 | 230 |
液压拉拔器的工作压力可达700巴。使用附件时,液压压力必须限制在以下最大容量范围内。
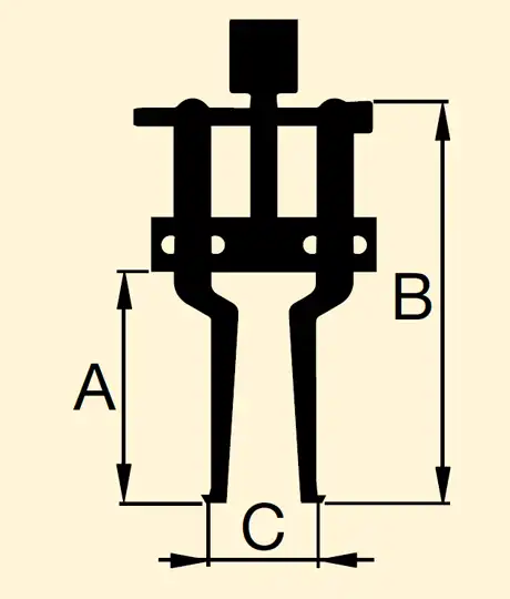
十字轴承拉拔器型号(mm)![]() | 轴承分离器型号(mm)![]() | 轴承座圈拔取器型号(mm)![]() | ||||||||||||||
| Model No. | A | B min | Thread Size C | Weight(Kg) | Model No. | A | B min | B max | Thread Size C | Weight(Kg) | Model No. | A | B | C min | C max | Weight(Kg) |
| BHP112 | 280 | 115 | ⅝”-18 UNF | 2 | BHP181 | 110 | 10 | 110 | ⅝”-18 UNF | 2.8 | BHP180 | 135 | 236 | 40 | 145 | 2 |
| BHP172 | 280 | 115 | ⅝”-18 UNF | 2.2 | BHP282 | 156 | 12 | 134 | ⅝”-18 UNF | 5.7 | BHP190 | 164 | 265 | 40 | 145 | 2 |
| BHP272 | 370 | 140 | ⅝”-18 UNF | 2.4 | BHP292 | 182 | 13 | 210 | ⅝”-18 UNF | 12.5 | BHP280 | 164 | 265 | 40 | 145 | 2.4 |
| BHP672 | 615 | 220 | 1¼”-12 UNF | 6.4 | BHP682 | 300 | 20 | 300 | 1¼”-12 UNF | 43.5 | BHP580 | 150 | 310 | 60 | 240 | 6.4 |

































